400-822-5885򠤓

CloudQuery X PolarDB:让数据库管理更简单

发表时间:2023-09-05 16:54作者:CloudQuery

图片


前言:8 月 15 日,CloudQuery 数据操作管控平台与阿里云 PolarDB 数据库管理软件,完成产品集成认证测试。也在以下功能上完善了用户使用 PolarDB 的体验,使数据库的管理更加安全高效。


  • 支持在 CloudQuery 中创建连接,便于进行数据库管控。

  • 支持编辑连接、资源纳管、连接池管理以及连接设置,可设置此连接下的事务模式、最大连接数、最大等待时间、空闲连接超时时间、连接管理员等。

  • 支持开启/关闭测试环境、隐藏模式,设置此连接的同步复核方式。

  • 支持授权管理,授权粒度到表级别。

  • 支持动态脱敏,可针对字段配置脱敏规则。

  • 支持在 CloudQuery 中执行 SQL 语句对此连接下的数据进行管理。

  • 支持结果集导出。

  • 支持结果集编辑。

  • 支持执行日志的查看。

图片





不同的功能模块如何操作?



权限管控

在 CloudQuery 平台中创建 PolarDB 连接,将 PolarDB 纳入 CloudQuery 平台进行管控。


首先,CloudQuery 平台实现了对连接的管控,包括以下四项。


1)连接概览:查看/编辑连接信息、监控连接用户数以及连接下的 SQL 执行总数、图表视图查看连接的逻辑库数、schema 数量、表数量。




图片


图片


2)资源管理:资源管理可到 schema 层级,可开启连接下部分 schema,开启后的资源可在 CloudQuery 平台中实现权限管控、数据操作和权限管控。

3)连接池管理:查看当前连接下 SQL 语句、执行计划以及连接时长等信息。

4)连接设置:设置连接下的事务模式、最大连接数、最大等待时间、空闲连接最大等待时间等。


图片



综上,实现了对连接级的设置和管理,监控并纳管连接资源。


其次,CloudQuery 平台实现了对资源操作的权限管控,可细粒度到表级别。


1)支持对普通用户授予数据库对象操作权限,包括自定义权限等级(DML、DQL、DDL),以及授予右键菜单、结果集操作、导出功能权限,实现真正意义上的权限管控。




图片




图片


图片


2)支持批量授权,可根据用户属性判断是否拥有某些权限,用户加入某个项目组就拥有此项目组的权限。

3)支持分级授权管理,可将连接下的资源分配多个管理员。




数据操作

CloudQuery 平台自带 SQL 编辑器(类 似PL/SQL、Navicat),SQL 编辑器支持语法提示、关键词高亮、SQL 美化等,不改变用户的使用习惯。


图片





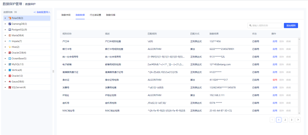
数据保护

CloudQuery 平台支持敏感数据保护,可设置多种脱敏算法,根据需求选择动态脱敏/静态脱敏。支持自定义访问数据库时间,如工作日访问,非工作禁止访问;也支持行过滤,根据用户属性设置属于此用户可见的数据范围。


图片





审计分析

在 CloudQuery 平台上对 PolarDB 所有的操作都进行了审计,包括 SQL 执行语句:语句内容、语句执行时长、成功/失败、执行语句的权限来源、哪个用户执行等。并且,可以图像化展示此数据源下不同操作类型的执行次数和平均执行时长。





CloudQuery & PolarDB 案例

现阶段,CloudQuery 和 PolarDB 已经为不同行业的多家共同用户提供了优质的服务,包括但不限于大型保险公司、证券公司等。


CloudQuery 和 PolarDB 的共同使用也为这些用户提供了全面的数据解决方案,满足了他们对数据处理、查询和存储的需求。


未来,CloudQuery 和 PolarDB 将持续注重用户体验的提升,努力简化操作流程,提供友好的界面和易于理解的功能。我们将持续优化产品的性能和稳定性,确保用户在使用 CloudQuery 和 PolarDB 时能够获得卓越的体验和可靠的服务。





关于 CloudQuery

CloudQuery 是一款面向企业的云原生一体化数据库管控平台。致力于为开发者、数据资产管理者等技术人员,打造一个一站式安全可控的数据操作平台,CloudQuery 赋予用户仅通过一个 web 浏览器,即可实现数据安全访问、数据分析治理、数据脱敏等各类复杂场景的能力。


CloudQuery 核心能力

  • 自研数据库客户端:多种数据库,一个管理和开发工具。
  • 支持多类型数据库:覆盖 PolarDB、OceanBase、Oracle、Mysql、PostgreSQL、HIVE、达梦等20多种数据库,并在不断迭代中。

  • 用户统一管理:一个组织身份账户,即可访问所有数据源,简化数据库管理工作。

  • 数据泄漏防护:依据数据安全法要求有效保护企业数据,避免数据泄露和滥用。

  • 高危操作拦截:操作语句逐条解析,支持多种高危行为识别与拦截。

  • 终端安全防护:避免传统数据库客户端导致的账号泄漏、数据泄漏、版权问题。

  • ......





关于 PolarDB

PolarDB 是阿里云自研的云原生数据库产品家族,采用存储计算分离、软硬一体化设计,既拥有分布式设计的低成本优势,又具有集中式的易用性,可满足大规模应用场景需求。


2021 年,阿里云把数据库开源作为重要战略方向,正式开源自研核心数据库产品 PolarDB ,助力开发者和客户通过开源版本快速使用阿里云数据库产品技术,并参与到技术产品的迭代过程中来。


开源云原生数据库 PolarDB 分布式版(PolarDB for Xscale,简称“PolarDB-X”),是阿里云自主研发的高性能云原生分布式数据库产品,其采用 Shared-nothing 与存储计算分离架构,支持水平扩展、分布式事务、混合负载等能力,具备企业级、云原生、高可用、高度兼容 MySQL 系统及生态等特点。


开源云原生数据库 PolarDB PostgreSQL 版(PolarDB for PostgreSQL,简称“PolarDB-PG”),是阿里云自主研发的云原生关系型数据库产品,100% 兼容 PostgreSQL;采用基于 Shared-Storage 的存储计算分离架构,具有极致弹性、毫秒级延迟、HTAP 的能力和高可靠、高可用、弹性扩展等企业级数据库特性。同时,PolarDB 具有大规模并行计算能力,可以应对 OLTP与OLAP 混合负载。


CloudQuery 官网:https://www.cloudquery.club

PolarDB 官网:https://www.polardbpg.com/home





BinTools 服务号
BinTools 社区
产品中心
关于图尔兹
© 2024 杭州图尔兹信息技术有限公司